One of the big gripes with Samsung foldables is that they still bring a noticeable creases on their main displays but that might change with the upcoming Galaxy Z Fold5. A new report from Naver News suggests that Samsung will bring a new waterdrop hinge mechanism on the upcoming Z Fold model, which will eliminate the infamous screen crease while allowing the panel to fold completely flat.
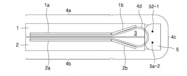
Samsung Display “droplet” foling display hinge patent from 2016
The new hinge mechanism will see the folding display form a droplet shape inside the hinge body, preventing the crease between the two sides of the panel. We’ve already seen similar approaches with the Moto Razr and Oppo Find N series. Samsung’s Galaxy Z Fold4 and Z Flip4 handsets still use U-shaped hinges which show noticeable creases and cannot close completely flat. Samsung is expected to retain the IP68 water and dust resistance rating on the upcoming Z Fold5.
source (in Korean)




